От обычного дома к солнечному
Использование солнечных коллекторов в существующих домах должно стать одной из первоочередных задач. Это обеспечит не только реальное сокращение потребностей в ископаемом топливе, но и сэкономит значительные денежные средства.
Как и для новых зданий, переоборудование старых может осуществляться на различных уровнях технологической сложности, денежных и энергетических расходов и практического подхода.Специалисты компании «ППУ21 век» предложат вам наиболее подходящий вариант для переоборудования вашего дома, квартиры или др. помещения. Составят смету, быстро и качественно смонтируют систему солнечного отопления и охлаждения.
Существуют три основных способа переоборудования зданий:
- крепление коллекторов к существующим или несколько видоизмененным наружным стенам или крышам домов;
- установка коллекторов на пристройку к зданию (крыльцо, гараж, новое крыло);
- строительство сооружения для размещения коллекторов отдельно от здания (отдельно стоящий сарай, гараж, амбар или сооружение, построенное исключительно для размещения коллектора.

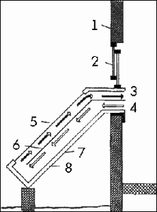
Рис. 1. Размещение солнечных коллекторов применительно к существующим зданиям:
1 - на существующей крыше или стене; 2 - коллектор; 3 - только вертикальные стеновые коллекторы (для широт выше 35°с.ш.); 4 - на пристройке к зданию; 5 - на отдельной конструкции.
Из-за ограничений, связанных с использованием существующих зданий, ориентация и угол наклона коллекторов могут быть не оптимальными. Часто экономические соображения ограничивают возможность изменить имеющиеся условия применения коллекторов и тем самым суживают возможности оптимизации проекта. Конструкция коллекторов, используемых для нагрева воды, обладает несколько большей гибкостью благодаря меньшему размеру коллекторов.Этому способствует и режим круглогодичного их использования, поскольку положение солнечного диска на небосводе меняется в течение 12 месяцев гораздо больше, чем во время более короткого отопительного сезона.
Коллекторы для системы солнечного охлаждения с трудом достигают требуемой эффективности даже в наилучших условиях инсоляции, и поэтому по возможности должны иметь оптимальную конструкцию и размещение, что затрудняет их приспособление к существующим зданиям. Для системы солнечного отопления размер коллектора должен быть более половины площади пола здания, но не менее 10 кв. метров. Для приготовления горячей воды коллектор может быть небольшим исходя из нормы 2,5...3 кв. метров на человека.Ориентация коллекторов для системы отопления должна быть в пределах от юг - юго-востока до юг - юго-запада и от юго-востока до юго-запада для системы приготовления горячей воды.
Угол наклона коллекторов для системы отопления помещений (измеряемый от горизонтали) может находиться в пределах a = ф + 10...15°, где ф — широта местности. Для 40° с.ш. пределы составляют 40...90°. Наклон коллекторов для системы горячего водоснабжения находится в пределах a = -10<ф<+25°. Для 40° с.ш. этот диапазон составляет 30...75°.
Во всех вышеуказанных пределах сезонная или годовая общая эффективность системы будет отличаться не более чем на 10...20 % от оптимальной.
Один из самых простых способов использования солнечного тепла при существующих крышах заключается в пропускании воды поверх гонтовой поверхности. Теплоприемная поверхность должна быть как можно более черной, при необходимости окрашенной и свободной от мусора. К стропилам крепятся рамы для двух слоем остекления и конструкционного материала (например, полиэфирной смолы, армированной стекловолокном) с учетом мер для предупреждения протечек.
Крышу можно также покрыть волнистыми алюминиевыми листами, окрашенными в черный цвет и закрытыми стеклом. Вода подается через перфорированную трубу вдоль конька крыши и собирается затем в желоб. Коэффициент полезного действия такого коллектора невелик, но незначительные затраты, связанные с превращением существующей крыши в солнечный коллектор, могут оправдать невысокий КПД.
На рис. 2 показаны некоторые детали возможной конструкции коллектора. Участки стен южной ориентации можно превратить в воздушные коллекторы примерно также, как это было сделано с крышами. Коллекторы водяного типа при размещении на стенах менее практичны, поскольку отсутствует наклонная поверхность, по которой вода может стекать

Рис. 2. Переделка существующей крыши в солнечный коллектор водяного типа с открытым потоком:
1 - верхняя накладка; 2 - труба с перфорациями; 3 - два слоя стекла или другого прозрачного материала; 4 - холодная вода; 5 - фильтр (для асфальтовой крошки); 6 - нагретая вода, стекающая в желоб; 7 - конопатка (типовая); 8 - стекло; 9 - металлическая кляммера; 10 - гонт; 11 - фанера; 12 - стропило.
Во дворах вне дома коллекторы могут размещаться на отдельно стоящих конструкциях. Пример такого устройства показан на рис. 3. Прохладный воздух из дома отбирается через нижнюю часть окна в солнечный коллектор, а подается обратно в помещение через верхнюю часть окна. Устройство похоже на оконный кондиционер. Более высокая степень регулирования достигается путем подачи прохладного воздуха в коллектор из одного окна и возврата теплого воздуха в другое.

Рис. 3. Портативный солнечный коллектор воздушного типа, устанавливаемый во дворе.
При переоборудовании существующих зданий можно применить быстрый и достаточно дешевый метод установки простых солнечных коллекторов воздушного типа в оконной коробке. На рис. 4, 5, 6 представлены модификации вертикальных термосифонных солнечных коллекторов. Такие коллекторы предназначены для установки в проемы существующих окон.
На рис. 4 показана конструкция, приписываемая Баку Роджерсу из г. Эмбудо (Нью-Мексико, США). Прохладный воздух из помещения засасывается в коллектор нагретым воздухом, который из коллектора поступает в помещение. Вертикальный вариант этой конструкции, показанный на рис. 5, особенно приемлем для крупных зданий.

Рис. 4. Солнечный коллектор, встроенный в оконную коробку:1 - стена дома; 2 - окно; 3 - теплый воздух; 4 - прохладный воздух; 5 - стекло; 6 - коллектор; 7 - фанера; 8 - изоляция.

Рис. 5. Вариант устройства солнечного коллектора в оконной коробке:
1 - существующая стена дома; 2 - существующее окно; 3 - нагретый воздух; 4 - прохладный комнатный воздух; 5 - стекло или пластмасса; 6 - черная пластина коллектора; 7 - пол в помещении.Хотя коллектор в оконной коробке может быть почти любого размера, его эффективность, даже и значительная, основываясь на площади, в действительности будет мала, если размеры коллектора существенно не превышают размеров окна. Если для обеспечения 50%-ной потребности в отоплении требуется коллектор размером 25...50% от площади пола здания, то должно быть ясно, что для заметной экономии энергии требуются большие коллекторы. На рис. 6 показан коллектор значительно превышающий размеры окна.

Рис. 6. Коллектор, превышающий по размеру оконную коробку.
Трудная задача дополнения существующих зданий аккумулятором тепла была практически решена Дж. П. Гуптой и Р. К. Чопрой из лаборатории министерства обороны (г. Джодхпур, Индия). Они разработали простой солнечный обогреватель комнат не требующий механической энергии и встраиваемый в существующие здания.

Рис. 7. Простой солнечный обогреватель комнаты:
1 - холодная вода; 2 - коллектор; 3 - солнечная радиация; 4 - горячая вода; 5 - перелив; 6 - стена; 7 - фанера; 8 - изоляция (сухая трава); 9 - глинобитная крыша; 10 - джутовая изоляция; 11 - воздушный зазор; 12 - отверстие для сообщения с атмосферой и заливки; 13 - кран; 14 - стекловата; 15 - бак; 16 - подставка для бака; 17 - дверь.
Как видно из рис. 7, солнечный коллектор южной ориентации наклонно опирается на стену здания. Высокий бак с горячей водой без теплоизоляции находится в помещении, примыкая хорошо изолированной стенкой к наружной стене.
В результате естественной конвекции вода циркулирует из плоского коллектора в бак и обратно в коллектор. Если в данном климате возможны отрицательные температуры, в воду добавляется антифриз.
Тепло в помещение бак излучает своей передней стенкой.Остались вопросы?
Звоните +7 495 187-17-71

